Ford патентует конструкцию быстросъемных дверей - «Последние автоновости» » Ищи тут
Местоположение
Поиск по объявлениям
Выберите категорию
Марка автомобиля
Тип кузова
Год выпуска
Пробег, тыс. км.
Коробка передач
Тип двигателя
Объём двигателя, л.
Привод
Владельцев по ПТС
Вид техники
Вид техники
Вид техники
Вид товара
Вид объекта
Тип дома
Вид объекта
Количество комнат
Вид объекта
Общая площадь, м2
Материал стен
Этаж
Этажей в доме
Лоджия/балкон
Санузел
Категория земель
Площадь участка, сот.
Расстояние до города, км
Сфера деятельности
График работы
Опыт работы
Стаж работы, лет
Образование
Пол
Возраст, лет
Вид услуги
Вид одежды
Вид одежды
Вид товара
Вид товара
Вид товара
Вид товара
Вид товара
Вид товара
Вид товара
Вид товара
Вид товара
Вид товара
Вид товара
Вид телефона
Вид товара
Вид товара
Вид товара
Вид велосипеда
Вид товара
Вид товара
Вид товара
Вид товара
Порода
Порода
Вид животного
Вид бизнеса
Вид оборудования
Тип объявления
Цена, руб.
Сортировка по
Настройки поиска
Доска объявлений - Ищи тут / Статьи / Ford патентует конструкцию быстросъемных дверей - «Последние автоновости»

    Ford патентует конструкцию быстросъемных дверей - «Последние автоновости»



    Ford Bronco ждут уже давно и за это время машина постоянно обрастает новыми слухами и подробностями. Например, еще в апреле прошлого года сообщалось, что Bronco может получить съемные двери, а теперь новый патент автопроизводителя может пролить свет на их конструкцию.

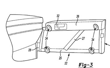
    На сайте Ведомства по патентам и товарным знакам США (United States Patent and Trademark Office – USPTO) недавно появилась патентная заявка Ford, поданная еще в мае 2018 года. В этом патенте компания описывает конструкцию быстросъемных дверей. Правда, нигде в описании упоминаний о Bronco нет, но сложно предположить, что что-то подробное Ford захочет использовать, например, на Explorer, да и на самих эскизах в патенте внедорожник сильно напоминает то, что мы уже видели у Bronco R.

    В сопроводительной записке указывается, что дверь «прикреплена съемным способом к узлу кузова с помощью механизма быстрого соединения». Ну а простыми словами можно сказать, что эта конструкция состоит из трубчатой двери, которая содержит ручку двери и разъемы электропроводки замка и стеклоподъемника. Наружные двери крепятся к внутренним трубчатым с помощью быстросъемных защелок (на каждой двери их четыре), которые позволяют быстро снимать и одевать двери. Та самая внутренняя дверь-труба не демонтируется, обеспечивая некоторую степень защиты, в то же время предоставляя водителю и пассажирам ощущение открытости и улучшенную видимость.

    Часто мы советуем принимать патентные заявки с определенной долей скептицизма. Очень часто идеи компаний не выходят за рамки патентов и никогда не добираются до конвейера. Тем не менее, в случае с Bronco очень большая вероятность, что все будет обстоять именно так и у машины действительно будут подобные двери. И подтверждают это не только патенты, но и главный конкурент – Jeep Wrangler, который также имеет похожую, но не такую простую конструкцию съема дверей.

    Дебют нового Bronco может состояться уже в следующем месяце, а ареной для его публичной премьеры может стать автосалон в Нью-Йорке.

    Все цены на модельный ряд Ford доступны на Сайте, в разделе «Новые авто».


    Ford Bronco ждут уже давно и за это время машина постоянно обрастает новыми слухами и подробностями. Например, еще в апреле прошлого года сообщалось, что Bronco может получить съемные двери, а теперь новый патент автопроизводителя может пролить свет на их конструкцию. На сайте Ведомства по патентам и товарным знакам США (United States Patent and Trademark Office – USPTO) недавно появилась патентная заявка Ford, поданная еще в мае 2018 года. В этом патенте компания описывает конструкцию быстросъемных дверей. Правда, нигде в описании упоминаний о Bronco нет, но сложно предположить, что что-то подробное Ford захочет использовать, например, на Explorer, да и на самих эскизах в патенте внедорожник сильно напоминает то, что мы уже видели у Bronco R. В сопроводительной записке указывается, что дверь «прикреплена съемным способом к узлу кузова с помощью механизма быстрого соединения». Ну а простыми словами можно сказать, что эта конструкция состоит из трубчатой двери, которая содержит ручку двери и разъемы электропроводки замка и стеклоподъемника. Наружные двери крепятся к внутренним трубчатым с помощью быстросъемных защелок (на каждой двери их четыре), которые позволяют быстро снимать и одевать двери. Та самая внутренняя дверь-труба не демонтируется, обеспечивая некоторую степень защиты, в то же время предоставляя водителю и пассажирам ощущение открытости и улучшенную видимость. Часто мы советуем принимать патентные заявки с определенной долей скептицизма. Очень часто идеи компаний не выходят за рамки патентов и никогда не добираются до конвейера. Тем не менее, в случае с Bronco очень большая вероятность, что все будет обстоять именно так и у машины действительно будут подобные двери. И подтверждают это не только патенты, но и главный конкурент – Jeep Wrangler, который также имеет похожую, но не такую простую конструкцию съема дверей. Дебют нового Bronco может состояться уже в следующем месяце, а ареной для его публичной премьеры может стать автосалон в Нью-Йорке. Все цены на модельный ряд Ford доступны на Сайте, в разделе «Новые авто».
    Цитирование статьи, картинки - фото скриншот - Rambler News Service.
    Иллюстрация к статье - Яндекс. Картинки.
    Есть вопросы. Напишите нам.
    Общие правила  поведения на сайте.


  • 1 137
  • 0
  • 24-02-2020, 20:15
0

Лучшие новости сегодня


Комментарии (0)
Написать
Читайте также другие новости